全國咨詢熱線
0532-89670500貨淋室、風淋室是一種凈化車間常用的凈化設備,作為為工作人員和貨物進出潔凈區域所設置的潔凈裝置,可以有效迅速清除人身和物體表面的塵埃,減少帶入潔凈室的灰塵量,同時起到氣閘室功能,防止不清潔空氣侵入,確保潔凈室達到所需潔凈度。如何挑選一臺合適自己的風淋室,是每個企業都比較在意的問題。接下來,康瑞鑫凈化公司的小編,就為大家講解以下,如何挑選一臺合適的風淋室。
在先擇風淋室之前,需要先對其結構進行初步的了解,了解清楚風淋室的結構之后,才能夠更好的挑選風淋室。

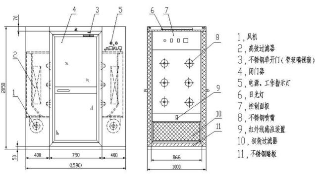
▲風淋室結構圖
風淋室的結構相比較其他凈化設備而言,有比較明確的組成部分,一般是由箱體、門、高效過濾器、送風機、配電箱、噴嘴等幾大部件組成。箱體,門等框架結構,通常采用不銹鋼制作而成,其中箱體用不銹或鋼板折彎焊接,表面靜電噴塑處理,內底板為全不銹鋼板制而成,從而達到美觀耐用的效果。
了解了風淋室的結構,想必大家對其內部構造已經有了初步的了解,光了解內部結構還遠遠不夠,風淋室的使用材質才是是決定風淋室是否合適的重要因素,同樣,材制的好壞也是影響價格的重要因素。
風淋室內、外箱體有可供選用的材質主要有二種,分別為全A3冷板多層酸洗靜電噴涂板,通常稱為冷板,另一種為不銹鋼板,不銹鋼又分為SUS201,SUS304,SUS316等,厚度一般為0.8~1.5mm。通常企業根據自身經濟利益,降低成本的情況下會有以下幾種風淋室箱體材質的搭配:
1、全冷板風淋室,內底板與噴嘴和拉手為不銹鋼。
2、外冷板內不銹鋼風淋室。
3、內、外箱體采用全不銹鋼風淋室。
4、彩鋼板風淋室

▲不銹鋼風淋室
風淋室的門體主要有全玻璃與半透明視窗門可選,而材質上又可分為冷板門或不銹鋼門。
當然,無論選擇哪一種材制作為風淋室的主體材料,都要解和自身的經濟實力和用途來綜合選擇,選擇的材料越好,風淋室的價格也就越高

▲彩鋼板風淋室
全不銹鋼風淋室價格比全冷板風淋室價格稍要偏高,因為材質成本本身就比冷板增加不少,全不銹鋼風淋室耐強酸度較高,因此風淋室廠家通常會建議使用不銹鋼風淋室。另外,如果企業現場如有酸性氣體或潮濕的工場環境時,則需要選擇全不銹鋼風淋室;反之可以選擇全冷板風淋室來降底成本,其功能也都是一樣。
在選購風淋室設備時;首先應注重其是否有一套優質的高效過濾器?,F在通常都會選用無隔板的高效過濾器,當然也會有許多廠家選用的有隔板高效過濾器,這兩種過濾器之間是有差異的,有隔板高效過濾器是比較早期的風淋室所配套的,所以優秀的風淋室廠家會選用無隔板高效過濾器,比有隔板高效過濾器的技術含量更高,過濾的作用更佳。因此高效過濾器關于風淋室的重要運用不應忽視。
優秀風淋室的控制電路通常都是集成控制系統,是風淋室專用的控制電路,有急停、手動發動、風淋時刻調理等模塊組成。優秀風淋室一些小配件(如:主動閉門器、紅外感應器、電子互鎖等)往往也是有優良口碑的好品牌,其關系到整個風淋室的穩定正常運轉,所以也是不容忽視的。

▲風淋室操控系統
為了更好的讓大家選擇一臺合適的風淋室,康瑞鑫凈化公司的小編為大家依據行業的不同和用途的不同,進行了大體的推薦,幫助大家更好的選擇合適的風淋室。
1、電子廠選擇風淋室的建議
電子廠一般采用冷軋板材質的風淋室居多,冷軋板通俗點就是防靜電噴塑鐵板。這種材質防靜電、防輻射,價格又適中,適用于靜電離子比較多的場合。但是其缺點就是一旦噴塑油漆脫落表皮外露造成鐵板氧化導致生銹現象發生。?
2、食品/制藥行業選擇風淋室的建議
一般食品/制藥企業多選用不銹鋼或彩鋼板材質。不銹鋼材質外觀大方美觀,不銹鋼的特性防腐蝕,抗氧化不生銹,而且很結實,適用于比較潮濕的環境或者有腐蝕性氣體或液體的場合,總體來講使用壽命較長。彩鋼板也叫防靜電噴塑鋼板,中間為泡沫兩邊為鐵皮,這種材質價格低廉,設備重量輕易裝卸??梢源蟠蠼档筒少彸杀镜秉c是不耐腐蝕,不抗氧化,而且壽命短。適用于小規模的企業使用。?
3、人淋/貨淋選擇建議
風淋室有兩種體現形式,人淋和貨淋。人淋用風淋室選擇一般是以25人為基本單位,一般人數在25人以下選擇單人風淋室,25人以上50人以下一般選擇雙人風淋室,依此類推。?
貨淋室是給一些貨物進行潔凈的設備,特點無底板,尺寸由裝卸貨物的小車尺寸決定。這種設備安裝方便選材隨意,是一個未來的發展趨勢。
一臺風淋室是否合適,決定著企業用的是否順心,一臺結構清晰,選材用料好,操控系統出色,過濾出風大,價格合適的風淋室,是大家都所要追求的,但往往其中各種因素都是相背馳的,因此,選擇一臺功能夠用,材料合格,價格在能力范圍內的風淋室,是再合適不過的了。好了, 本篇文章到這里就全部結束了,想必大家閱讀到最后,心里應該很清楚如何選擇一臺合適的風淋室了,如果感覺本篇文章對您有所幫助,歡迎持續關注我們康瑞鑫凈化公司,我們將持續為您分享凈化工程的專業知識和提供專業的凈化車間服務,努力成為一家讓大家值得信賴,口碑優秀的凈化公司。
聯系電話
微信掃一掃
返回頂部
Copyright 2005-2016 山東康瑞鑫凈化科技有限公司 ALL Rights Reserved